爆气系统安装要求,爆气系统安装要求详解
创始人
2025-02-07 20:41:54
0

爆气系统安装要求详解

随着工业生产和技术的发展,爆气系统在许多行业中的应用越来越广泛。爆气系统主要用于提供压缩空气,以满足各种工业设备的需求。为了保证系统的正常运行和安全性,以下是对爆气系统安装要求的详细解析。

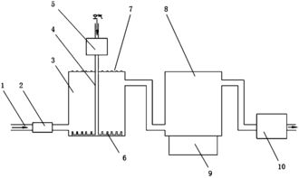
一、系统设计要求

1. 设计依据:爆气系统的设计应遵循国家相关标准和规范,如《压缩空气系统设计规范》等。

2. 气源选择:根据实际需求选择合适的气源,如空气压缩机、氮气发生器等。

3. 系统布局:合理规划系统布局,确保设备之间连接顺畅,便于维护和操作。

4. 安全防护:设计时应充分考虑安全防护措施,如设置安全阀、压力表、紧急停机装置等。

二、设备选型要求

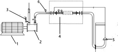
1. 空气压缩机:选择合适的空气压缩机,考虑其排气量、压力、效率等因素。

2. 储气罐:根据系统需求选择合适的储气罐,如立式储气罐、卧式储气罐等。

3. 管道系统:选择合适的管道材质和规格,确保管道的耐压性和耐腐蚀性。

4. 阀门和附件:选用质量可靠的阀门和附件,如截止阀、调节阀、过滤器等。

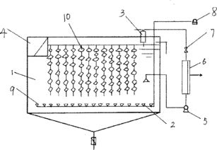
三、安装施工要求

1. 施工准备:在施工前,应做好现场勘查、设备检查、材料准备等工作。

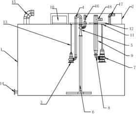
2. 设备安装:按照设备说明书进行安装,确保设备安装牢固、水平。

3. 管道安装:管道安装应遵循“先主管后支管”的原则,确保管道连接紧密、无泄漏。

4. 电气安装:电气设备安装应严格按照电气规范进行,确保电气安全。

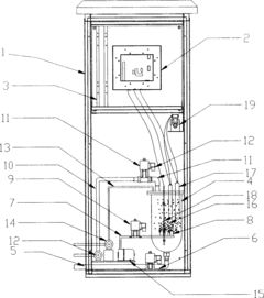
四、调试与验收要求

1. 系统调试:在设备安装完成后,进行系统调试,确保系统运行正常。

2. 性能测试:对系统进行性能测试,如压力测试、流量测试等,确保系统满足设计要求。

3. 安全检查:对系统进行全面的安全检查,确保无安全隐患。

4. 验收手续:完成调试和检查后,办理验收手续,确保系统正式投入使用。

五、维护与保养要求

1. 定期检查:定期对系统进行检查,及时发现并处理问题。

2. 清洁保养:定期对设备进行清洁保养,延长设备使用寿命。

3. 更换备件:及时更换磨损或损坏的备件,确保系统正常运行。

4. 培训操作人员:对操作人员进行培训,提高其操作技能和安全意识。

通过以上对爆气系统安装要求的详细解析,我们可以看出,爆气系统的安装、调试、验收和维护保养是一个系统工程,需要严格按照相关规范和标准进行。只有这样,才能确保爆气系统的安全、稳定、高效运行。


相关内容

热门资讯

抖音十大财经博主都有谁? 抖音十大财经博主分别是:90后理财女神张雨菲、老道君、锦江理财、何小野金融笔记、小瘪三谈钱、乒乓牛牛...
surface pro 触屏失... 作为一名SurfacePro的用户,我深知触屏在使用中的重要性。然而,面对触屏失灵的情况,不少用户可...
国内比较权威的新闻媒体有哪些? 1、人民网坚持“权威、实力,源自人民”的理念;以“权威性、大众化、公信力”为宗旨;以“多语种、全媒体...
广东中山小区用电一般是多少钱一... 一、广东中山小区用电一般是多少钱一度?刚才看了一下电网发过来的电子账单,算了一下,居民用电一度0.6...
平顶山市财经学校学校简介 一、平顶山市财经学校学校简介平顶山市财经学校,作为国家级重点中专,享有众多荣誉,如省级文明单位、卫生...
抖音里的财经博主有哪些? 抖音是一个热门的社交媒体平台,吸引了大量的用户关注和使用。在抖音上,有很多财经博主分享了他们的经验和...
​金蝶生产领料单怎么生成凭证 金蝶生产领料单怎么生成凭证做好存货核算之后,在存货核算模块有个生成凭证的按钮,只要模板设置好,直接在...
财经博主汤山老王是哪国人 一、财经博主汤山老王是哪国人中国人。财经博主汤山老王是《今日头条》平台的视频博主,财经类自媒体创作者...
蚂蚁借呗是什么? 蚂蚁借呗是什么?借呗是支付宝推出的一款贷款服务,最高贷款额度为30万元,最长还款期限为12个月,贷款...
通达信软件如何设置盘中股票异动... 一、通达信软件如何设置盘中股票异动提示,只能通过指标进行异动预警!当然,系统也提供了一些简单的股票预...